Pourquoi Stellantis veut implanter trois vitesses dans ses voitures électriques ?

Presque toutes les voitures électriques se contentent d’une réduction unique, donc d’une seule vitesse pour la transmission. Stellantis vient toutefois de breveter une boîte de vitesses à trois rapports. Il y a une bonne raison à cela.

Publié le 26 juin 2025
Temps de lecture : 4 min

Partagez

Pourquoi Stellantis veut implanter trois vitesses dans ses voitures électriques ?

Ce n’est pas la première fois que le groupe Stellantis étonne avec un dépôt d’un brevet un peu inattendu. Après avoir imaginé un système d’échappement pour voitures électriques (destiné à canaliser les fumées toxiques en cas d’incendie), le groupe a déposé un brevet aux États-Unis pour une transmission automatique à trois rapports destinée aux les véhicules à accumulateur.

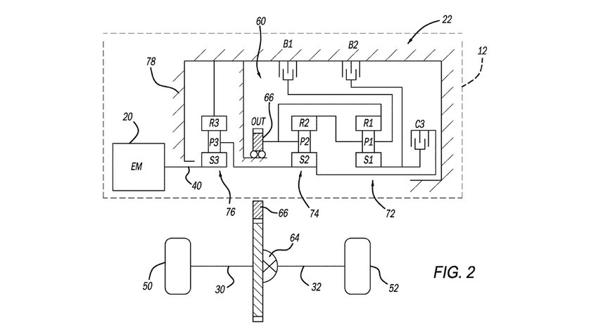
Deux trains planétaires

Le dépôt de ce brevet remonte déjà à octobre 2023, mais il n’a été approuvé par l’office américain que le mois dernier. La technologie déposée se compose d’un boîtier compact avec deux trains planétaires et quatre embrayages – deux pour freiner et deux pour le glissement –, ce qui permet de créer trois rapports de transmission pour un groupe motopropulseur électrique. Selon Stellantis, cette boîte peut être montée soit à hauteur d’essieu avant ou arrière, voir sur les deux. Ce qui signifie qu’elle peut aussi assurer sur un véhicule à transmission intégrale.

Patent- Stellantis-gocar

C’est précisément là que réside la raison d’être de ce design : atteindre un équilibre optimal entre puissance et efficacité. Car cette boîte peut offrir des ensembles d'engrenages à faible portée, à haute portée et en prise directe. Le premier rapport est utilisé pour les vitesses lentes, mais de puissance, le second est préconisé pour un usage routier quotidien tandis que le troisième – en prise directe – procure une efficacité maximale à haute vitesse.

Publicité – continuez à lire ci-dessous

Couple durable

Mais cette technologie est-elle vraiment nécessaire ? On connaît déjà la boîte à deux rapports du groupe Volkswagen utilisée dans la Porsche Taycan et l’Audi e-tron GT et elle couvre les deux derniers scénarios susmentionnés : un premier rapport court orienté « accélérations » et un second, plus long, qui réduit le régime moteur au-dessus de 100 km/h pour préserver l’autonomie, mais aussi permettre d’atteindre la vitesse de pointe de 260 km/h. erental bij snelheden boven 100 km/u, zodat zowel topsnelheid (± 260 km/u) als rijbereik intact blijven.

Mais pour Stellantis, c’est surtout le premier rapport qui importe. Là où la plupart des véhicules électriques utilisent une réduction unique – simple, légère et économique –, Stellantis souligne les avantages de ce système : « il ne peut fournir un couple soutenu suffisant pour rouler dans le désert ou sur terrain montagneux », peut-on lire dans la demande de brevet. Grâce à cette nouvelle transmission, les véhicules électriques pourraient mieux fonctionner dans des conditions extrêmes, comme la neige, le sable ou lors du remorquage d’autres véhicules. Selon le constructeur, les utilisateurs pourraient même envisager le déracinement de souches d’arbres... Bigre !

Jeep Recon.
Jeep Recon.

Pour Jeep et RAM

Cette technologie semble avant tout destinée à Jeep, qui sous la houlette de Stellantis continue son offensive électrique après avoir lancé les Avenger et Compass à accumulateur. Des modèles comme le Recon – un tout-terrain 100 % électrique attendu prochainement sur le marché – seraient parfaitement adaptés à cette nouvelle technologie de boîte de vitesse à 3 rapports. Le Recon est d’un gabarit similaire au Wrangler Unlimited et il sera équipé d’une suspension indépendante et de différentiels électroniques à glissement limité, un attirail qui en fera un vrai baroudeur. Il va de soi que les pick-up et SUV de la marque RAM pourraient aussi être concernés.

Stellantis n’est pas seul à explorer cette voie d’une boîte de vitesse pour voitures électriques. Il y a quelques années, l’équipementier ZF avait déjà présenté un prototype similaire de boîte à trois rapports conçue pour les mêmes raisons. La Mercedes Classe G entièrement électrique suit en revanche une autre logique : pour assurer ses légendaires ses performances en franchissement, elle utilise quatre moteurs électriques – un par roue – combinés à une transmission à deux rapports par essieu, ce qui permet une régulation individuelle du couple. Mais cette solution est nettement plus coûteuse que celle, très innovante, de Stellantis. Mais quelles conclusions tirer ? Peut-on envisager un parallèle avec les moteurs thermiques ? Car il faut se souvenir qu’au départ, ceux-ci aussi travaillaient avec une boîte à trois rapports et que, quelques années plus tard, certaines d’entre elles se sont retrouvées avec dix rapports. Les voitures électriques prendront-elles la même direction ?

À la recherche d'une voiture ? Cherchez, trouvez et achetez le meilleur modèle sur Gocar.be

Par Piet Andries Rédacteur automobile

Partagez

Contenus sponsorisés

Gocar marketplace
Vous cherchez un véhicule Jeep neuf ou d'occasion ?
Hybride, électrique ou thermique ? Neuve ou d'occasion ? Spécialiste dans la recherche de véhicules neufs, d’occasions et sur toute l’actualité automobile.
Jeep AVENGER
neuve The North Face Hybrid Pano Nav eHK SH...
35.193 €
Garage Breuer AG - 4780 SAINT-VITH Voir
Jeep Renegade
occasion 1.5 t4 mild-hybrid longitude dct (eu6.4)
21.553 km 20.499 €
Cardoen - 2610 Antwerpen Voir
Jeep Compass
occasion 1.4 MultiAir II Limited 4x2 GPS Beats Dig.Airco
51.338 km 16.900 €
Autokruispunt Tielt-Winge - 3390 Tielt-Winge Voir
Jeep Compass
occasion SUMMIT
12.367 km 28.990 €
De Rocker - 9230 Wetteren Voir

Gocar, tout l’univers auto en un seul endroit

Marketplace pour acheter ou vendre, site d’actualités pour rester informé et annuaire pour trouver facilement les garages professionnels près de chez vous.

Sur le même sujet

Gocar newsletters
Gocar est la référence. Que ce soit sur les dernières actualités auto ou les sujets brûlants de mobilité !
Abonnez-vous à notre newsletter Gocar pour rester au top de l’information et connaître tous les bons plans !
Votre inscription a bien été enregistrée.