Wordt Toyota eerste constructeur met waterstof-verbrandingsmotor?

Toyota heeft in de Verenigde Staten een patent ingediend voor een waterstof-verbrandingsmotor. Het gaat dus niet om een brandstofcel, maar om een echte verbrandingsmotor die H2 verbrandt. Staan lijn- en V-motoren voor een comeback?

Gepubliceerd op 19 april 2026
Leestijd : 3 min

Deel

Wordt Toyota eerste constructeur met waterstof-verbrandingsmotor?

We weten dat Toyota blijft geloven in waterstof als energieoplossing voor mobiliteit. Dat zie je met de Mirai en zijn brandstofcel – die cel (of stack) combineert waterstof en zuurstof om elektriciteit op te wekken en zo een batterij te voeden die een elektromotor aandrijft – maar ook via een totaal andere piste.

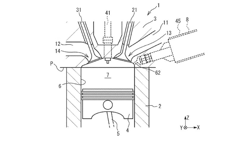
Die alternatieve oplossing is een verbrandingsmotor. De constructeur heeft namelijk een patentaanvraag ingediend in de Verenigde Staten. Het document beschrijft een waterstof-verbrandingsmotor waarvan de architectuur op het eerste gezicht lijkt op eender welke moderne motor met directe injectie: zuiger, vier kleppen, bougie. Alleen: de gebruikte brandstof is waterstof.

Maar er is wel een fundamenteel verschil, en dat zit in de injector. In tegenstelling tot klassieke benzine-injectie dringt het inspuitmondstuk van de H₂-injector niet door in de verbrandingskamer. Via een kleine opening in de cilinderkop wordt het gas ingespoten, zonder verstuivers die rechtstreeks aan de vlammen worden blootgesteld. Dat verschil heeft te maken met een specifieke fysieke eigenschap: waterstof gedraagt zich niet zoals benzine.

toyota H2 injector - copie

Advertentie – lees hieronder verder

Revolutionair polymeer

Eenvoudig is het allemaal niet, zeker niet met waterstof. Vaak hoor je dat een H2-motor waterstof verbrandt en alleen waterdamp uitstoot, zonder CO₂. Maar om dat mogelijk te maken, moest Toyota eerst een groot probleem oplossen: de afdichtingen van de injectoren. Waterstof is namelijk een extreem reactieve brandstof. Voorontsteking is er een veel groter probleem dan bij een benzinemotor, precies omdat waterstof met heel weinig energie ontbrandt. Concreet gebeurt dat wanneer het mengsel al ontbrandt in de verbrandingskamer vóór de bougie vonkt. De motor slaat dan op hol, verliest vermogen en in extreme gevallen kan de vlam zelfs terugkeren naar het inlaatsysteem. Om de injector te monteren, moeten de dichtingen en ringen gesmeerd worden. Alleen zijn de meeste smeermiddelen ontvlambaar. En dat kan uiteraard de injector vernielen, of zelfs de volledige motor in enkele cycli. 

De oplossing van Toyota heet polydimethylsiloxaan, een siliconenpolymeer dat je terugvindt in contactlenzen, bepaalde voedingsmiddelen en… het merendeel van de condooms. Het probleem speelt zich op twee momenten af. Eerst bij de montage: om de injector in de cilinderkop te plaatsen, moeten dichtingen en ringen gesmeerd worden zodat ze niet beschadigd raken. Daarna tijdens het gebruik: dat smeermiddel vormt letterlijk een barrière tegen voorontsteking dankzij zijn temperatuurafhankelijke viscositeit (die verandert met de temperatuur).

cch2-08-2 - copie

Toyota is trouwens niet de eerste die zich aan zo’n avontuur waagt. BMW werkte er tientallen jaren aan en bouwde in 2006 zelfs de Hydrogen 7: een 7 Reeks met een 6.0 V12 die zowel op benzine als op waterstof kon rijden. Er werden honderd exemplaren gebouwd, uitsluitend te huur in Duitsland. Het experiment stopte in 2009. Het Amerikaanse milieubureau stelde toen vast dat smeeroliedeeltjes onvermijdelijk in de verbrandingskamer terechtkwamen, daar verbrandden en als koolstofhoudende gassen werden uitgestoten. BMW koos sindsdien voor een andere richting en zet voor zijn toekomstige iX5 in op een brandstofcel… ontwikkeld samen met Toyota.

Fuji, daarna Le Mans

Maar wanneer mogen we deze waterstof-verbrandingsmotor verwachten? H2-prototypes reden al in de 24 Uren van Fuji en een programma voor de 24 Uren van Le Mans is bevestigd voor 2028.

Toch blijft er nog een groot struikelblok: de hoge verbrandingstemperaturen produceren stikstofoxiden (NOx). Toyota probeert die uitstoot te beperken door de temperaturen te verlagen, maar dat gaat ten koste van het rendement. Het juiste compromis is nog niet gevonden. Volgens verschillende experts is nog minstens tien jaar ontwikkeling nodig. Er blijft dus hoop voor 2035.

Op zoek naar een auto? Zoek, vind en koop het beste model op Gocar.be

Door David Leclercq Autojournalist

Deel

Gocar marketplace
Bent u op zoek naar een nieuwe of tweedehands Toyota voertuig?
Hybride, elektrisch of thermisch? Nieuw of tweedehands? Specialist in het zoeken naar nieuwe en tweedehands voertuigen en al het autonieuws.
Toyota Hilux
tweedehands 3.0 D-4D 4WD STX
124.000 km 24.999 €
JB Auto - 4219 Meeffe Bekijk
Toyota RAV4
tweedehands 2WD NAVI/CAMERA/KEYLESS
100.347 km 15.500 €
MI Cars - 9150 Kruibeke Bekijk
Toyota Proace
tweedehands Compact 8PL 61000KM
61.002 km 18.900 €
MI Cars - 9150 Kruibeke Bekijk
Toyota Corolla
tweedehands SW Hybrid 1.8 Dynamic Plus e-CVT Camera, Garantie!
51.942 km 21.995 €
CarsOnline BV - 9420 Erpe-Mere Bekijk

Gocar, jouw all-in-one autoplatform

Een marketplace om te kopen of verkopen, een nieuwssite om op de hoogte te blijven en een gids om eenvoudig betrouwbare professionele garages bij jou in de buurt te vinden.

In dezelfde categorie

Gocar newsletters
Gocar is de referentie. Of het nu gaat om het laatste autonieuws of de hotste mobiliteitsonderwerpen!
Schrijf je in voor onze Gocar-nieuwsbrief om op de hoogte te blijven van het laatste nieuws en leuke aanbiedingen!
Uw inschrijving werd goed geregistreerd.